My Cart

Your order is not eligible for free shipping as it contains an item that must ship freight.

You are $75.00 away from FREE shipping!

You've Achieved Free Shipping!

No items in cart.

Subtotal:
$0.00

FREE SHIPPING

ON ALL ORDERS OVER $75!

EXPERT CUSTOMER SERVICE

Menu

Briggs & Stratton 305447-0610-G1 Vanguard 16 HP 479cc Horizontal Shaft Engine

MPN: BS305447-0610-G1

$1,534.44
Find Parts for this Engine

The Small Block V-Twin Vanguard engine is designed-engineered to handle the most demanding commercial applications. Energetic and quick starting, these powerhouse engines feature a number of advanced technologies and integrated components, while also being lighter and more compact than leading competitor's engines. Many parts look similar, so it’s crucial to ensure you’re choosing the right replacement for your original equipment or engine model. Not sure? Use our Parts Lookup Tool to view part diagrams and find the correct replacement.

  • 479cc Displacement: Balances power and efficiency effectively
  • Advanced Debris Management
  • Dura-Bore Cast Iron Cylinder Sleeve
  • Full Pressure Lubrication w/ Spin-On Oil Filter
  • Replacement engines are very specific to your current model number. Please contact us or the manufacturer for the correct replacement for your original engine.
  • EPA compliant: Which means it meets all stringent environmental standards, ensuring reduced emissions and a cleaner running engine.
  • *Briggs & Stratton uses Gross Torque (GT) to measure power on smaller engines and Gross Horsepower (GHP) for larger engines.
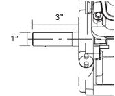
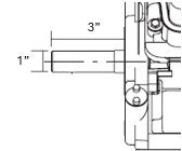
  • Crankshaft: 1" x 3"
  • Drilled & Tapped: 3/8-24
  • Keyway: 1/4"
  • Maximum RPM: 3600
  • Charging System: 20 Amp
  • Displacement: 479cc
  • Oil Capacity: 48oz

SHIPS VIA MOTOR FREIGHT: Carrier will contact you once shipped to arrange a required scheduled delivery time.

WARNING: Cancer and Reproductive Harm - www.P65Warnings.ca.gov

Find Parts With Part Diagrams

We get it, fixing outdoor power equipment can be hard, but finding the right part is easier with our Part Lookup Tool.

Go to Parts Lookup Tool